Die Treppe

gmc
Beiträge: 237
Registriert: Mi 4. Aug 2010, 10:15

Die Treppe

#1

Beitrag von gmc »

Bau einer Innentreppe
1.1 Die Voraussetzungen

Seit Anfang September 2015 gehört mir das Haus in Schweden nicht mehr,
Ich habe es an eine Kopenhagener Familie verkauft, die es wohl vorwiegend als Sommerhaus nutzen will.

Jedenfalls konnte ich Sie dazu bewegen, die drei Kachelöfen neu setzen zu lassen. Mit dieser aufwändigen Prozedur beauftragten sie einen Kachelofensetzermeister aus Kalmar an der schwedischen Ostküste. Im Frühjahr 2016 arbeitete er im Haus, baute die undichten Kachelöfen ab, und setzte sie neu. Einer davon steht im Flur, dort wo eine Treppe heu gebaut werden soll.
Obwohl der Kachelofen in einer Wandnische steht und nicht von allen Seiten gleich sichtbar ist, korrespondiert er mit der neuen Treppe.

Bei den Verhandlungen beim Makler wurde ich von den neuen Eigentümern beauftragt, diese Treppe nach meinen Entwürfen zu bauen. Dafür hatte ich bei der Sanierung der Empore im ersten Obergeschoss bereits vor zehn Jahren die Grundlagen geschaffen.

Es gibt zwei Seelen in meiner Brust: die eine sagt mir: Du musst die Treppe fertig bauen und zusammen mit dem neuerrichteten Kachelofen sehen und dokumentieren; die andere sagt: Lass es, sollen sie doch irgendeine Treppe bauen. Ich seh` sie ja doch nicht.

Ich entschied mich allerdings für Variante 1.

Die Empore, entstanden aus dem Teilabriss des Fußbodens im oberen Flur, wurde durch eine Konstruktion aus L-Stahlwinkeln von Wand zu Wand verstärkt. Den statischen Nachweis dafür lieferte mir ein Bekannter, der als Professor für Tragwerklehre an einer FH lehrt. Durch die Löcher in den Verbindungsplatten führe ich Stromleitungen von der einen zur anderen Wandseite.
FLUR_DETAILSV.jpg
FLUR_DETAILSV.jpg (106.46 KiB) 4323 mal betrachtet
Hier ein Foto der Konstruktion:
EmporenverstaerkungSV.jpg
EmporenverstaerkungSV.jpg (255.04 KiB) 4323 mal betrachtet
Vor die Empore wurde eine senkrechte Platte aus 10 mm Stahlblech geschraubt; ebenfalls von Wand zu Wand. Sie ist per Laserschnitt hergestellt worden und enthält alle Befestigungsbohrungen, und den Einschnitt für die Treppenösen und die Treppe. Im Bild sind vorn an der Platte die Tragösen der Treppe erkennbar

Die Platte wird etwa 10 cm über Fußboden-Niveau hochgeführt, damit Gegenstände am Herabfallen gehindert werden.

In die Platte sind zwei Ösen aus 10 mm Stahl eingesteckt und von der Rückseite her verschweißt. Mit ihren M 24 Gewinden halten sie gelenkig die Treppenwangen, ebenfalls aus 10 mm Stahl. M18 oder M20 hätten als Schraubengröße völlig ausgereicht. Damit die Schraubenköpfe in die Handlaufhalter aus U-Stahl passten, musste ich sie abdrehen.
Unten ist die Platte mit der Gipsdecke bündig. Das ergibt einen exakten Abschluss.

Damit wurde der Treppenanschluss oben festgelegt. Gleichzeitig entschied ich mich für scharfkantigen, kaltgewalzten U-Stahl 40x24x3.25 mm als Träger der Handläufe an Empore und Treppe.
Das konnte ich bereits 2006 zum Abschluss bringen und an andere Arbeiten gehen.

Im nächsten Beitrag berichte ich über die Vorbereitungen zum Bau der Treppe in Deutschland.
gmc
Beiträge: 237
Registriert: Mi 4. Aug 2010, 10:15

Re: Die Treppe

#2

Beitrag von gmc »

1.2 Die Vorbereitungen

Zunächst ein Blick auf den Entwurf. Die Treppe ist ein wesentlicher Bestandteil des zweigeschossigen Flures, der Halle, wie die Schweden sagen. Deshalb begleitete sie mich, solange ich mit dem Haus zu tun hatte. Heute kann ich mit Fug und Recht sagen: Sie ist so geworden, wie ich sie mir bis zum Schluss vorgestellt habe. Sie ist so durchsichtig wie erhofft, sie ist so schlicht wie geplant. Sie wurde für den Raum entworfen.

Ich arbeite bei meinen Entwürfen zwar mit dem Computer und CAD; aber mit dem 2D-Programm mit der klassischen Konstruktionsmethode: Frontansicht, Seitenansicht und Aufsicht.

Eine Besonderheit bei einer Treppe ist ihre Lage im Raum. Von der Seite gesehen ist sie ein Dreieck (nach Pythagoras). Je genauer man dieses Dreieck für die Planung vermessen kann, desto genauer ist sie später. Und ich verrate es schon mal: Sie ist als 43 Grad Treppe geplant und gezeichnet. Nach der Installation maß ich mit einem Winkelmesser nach. Die fertige Treppe hat 42.5 Grad Steigung. Dabei variieren die beiden Wangen in wenigen zehntel Grad.

Das sind einige konstruktive Probleme und ihre Lösungen.
Weiteres über die Treppe.

Die Treppe besteht mit ihren 15 Treppenstufen einschließlich einer Antritt- und Austrittstufe, aus vier Zentimeter dickem Buchenholz, auch die d=42 mm dicken Handläufe. Alle Stahlteile, auch am Emporengeländer, sind mit Eisenglimmer Dickschichtlack lackiert. Als Fußboden sind in beiden Etagen 25 x 157 mm Massivholzdielen aus langsam gewachsener Lappland-Kiefer vorgesehen.

Hier ist eine Zeichnung der Treppe:
TREPPE_43_15_AUSSEN.jpg
TREPPE_43_15_AUSSEN.jpg (100.25 KiB) 4312 mal betrachtet
Wesentliche Teile der Treppe sind die beiden Wangen aus 10 mm Stahlblech, die aus konstruktiven und Materialbeschaffungsgründen in zwei Teilen hergestellt werden müssen.
Ausserdem können die gebräuchlichen Laser nur Platten bis 1.500 x 3.000 mm aufnehmen.
Die Wangen sind über 4 Meter lang. Eine weitere Einschränkung beim Laserschnitt gibt es auch noch.
Laser können zwar die Aussenform mit großer Genauigkeit ausschneiden. Jedoch versagen sie bei Bohrungen die kleiner als die Materialstärke sind. Und natürlich können sie auch keine Sacklöcher, also nicht durch das Material hindurchgehende Löcher, herstellen. Alles das kann nur durch den Laser „angekörnt“, also auf der Materialoberfläche angeritzt werden, damit man dann mittels einer Säulenbohrmaschine die Durchgangs- und Sacklochbohrungen bohren kann. Das ist in den meisten Fällen genau genug. In diesem Fall jedoch nicht. Dazu später mehr.

Wenn man eine Stahlwangentreppe für den Innenraum konzipiert, muss sie neben der Leichtigkeit eine konstruktive Eleganz ausstrahlen. Die zwei Senkschrauben, die sichtbar die Stufe mit der Wange verbinden, stehen im rechten Winkel über dem unteren Schraubenpaar. d.h. die rechte Schraube steht genau senkrecht über der linken Schraube der unteren. Das erfordert eine konstruktive Sorgfalt im Zehntelmillimeter-Bereich. Und diese Genauigkeit muß man nicht sehen; man spürt sie in allen gelungenen Details.

Die Schrauben greifen natürlich nicht in das Holz der Stufen. Für die Verbindung der Stufe mit der Wange habe ich von mir ausgedachte Stufenplatten aus 10 mm dickem Stahl entwickelt, die beidseitig in die Stufen eingefräst werden.

Die beim Betreten der Stufen auftretenden Scherkräfte werden von vier Zylinderstiften aufgefangen, die in Sacklöchern in der Innenseite der Wange und in der Stufenplatte stecken. Die Senkschrauben sind ausschließlich auf Zug belastet und ziehen die Stufen fest an die Wange.

Diese Platten werden in den Frästaschen in den Stufen von drei Senkschrauben gehalten, die in RAMPA Muffen eingeschraubt sind, die in die Stufen eingebohrt und geschraubt wurden. Diese Konstruktion erweist sich als äußerst stabil.
gmc
Beiträge: 237
Registriert: Mi 4. Aug 2010, 10:15

Re: Die Treppe

#3

Beitrag von gmc »

1.3 Das Treppengeländer

Das Geländer hat die Aufgabe, den Handlauf zu Tragen und zu verhindern, das jemand seitlich von der Treppe stürzt.

Es soll ebenso transparent sein, wie die Stufen/Wangenkonstruktion. Ich stelle hier die beiden Komponenten vor, die das Geländer, zusammen mit den Handläufen bilden.

Die eine nenne ich: Geländerstäbe. Das sind die fünf U-Profilstäbe, die den Handlauf tragen.

Die andere sind die Geländerstangen. Das sind 6 mm Rundstangen, treppenlang, aus V2a.
Pro Geländer sind das - parallel zu Wange und Handlauf - vier Stück im Abstand von 170 mm.
Abgesehen von ihrer Länge von über 4 Metern: sie müssen zusammengeschweißt werden, denn man bekommt sie nur 3 Meter lang, bereiten sie keine weiteren Probleme. Beide Enden werden mit M6 Gewinden versehen.

Anders sieht es bei den Geländerstäben aus.
Es gibt pro Wange fünf Stück, wovon die mittleren drei gleich sind, die obere und die untere sind anders. Zunächst müssen die Befestigungslöcher gebohrt werden, mit denen sie an die Wangen angeschraubt werden. Dazu habe ich eine Bohrschablone angefertigt.

ISO Zeichnung
BOHRSCHABLONE_BEFESTIGUNGSLOECHER_SV.jpg
BOHRSCHABLONE_BEFESTIGUNGSLOECHER_SV.jpg (76.84 KiB) 4305 mal betrachtet
Mit einem weiteren Problem habe ich mich lange beschäftigt.
Es lautet schlicht: Wie bekomme ich Löcher im Winkel von 43 Grad (auf die Waagerechte bezogen!) beidseitig in die U-Profile?

Die Konstruktionszeichnung
BOHRVORRICHTUNG_43_GRAD_GELAENDERPFOSTEN.jpg
BOHRVORRICHTUNG_43_GRAD_GELAENDERPFOSTEN.jpg (26.16 KiB) 4305 mal betrachtet
Die Lösung ist eine Apparatur, die ich auch in Fotos darstelle.

Auf einer Grundplatte habe ich Gewindelöcher im Abstand von 170 mm angebracht. Das ist der Abstand der Geländerstangen zueinander. Damit können die Löcher winkel- und abstandsgenau gebohrt werden. Übrigens wurden die Löcher von beiden Seiten in die Geländerstäbe gebohrt, um ein Verlaufen des Bohrers zu verhindern. Die Bohrungen für die linke und rechte Seite wurden durch Umdrehen der Platte und Ummontage der Bohrerführungen realisiert.
43_Schraeglochbohrgeraet_1SV.jpg
43_Schraeglochbohrgeraet_1SV.jpg (182.01 KiB) 4305 mal betrachtet
Gleichzeitig wurde auch das Schrägbohrproblem bei den Buchenholz Handläufen auf gleiche Weise gelöst.
Rohre mit d=12 x 2 mm sind die Führungen für die M8 Schrauben, die in RAMPA Muffen, die in die Handläufe schräg eingebracht wurden, eingeschraubt werden. Das musste vor Ort geschehen und konnte leider nicht vorbereitet werden. Allerdings habe ich auch dafür ein Justiergerät entwickelt, das ähnlich aussieht, wie das für die Geländerstangen. Damit auf der „Baustelle“ winkelgenau bohren zu können, war eine große Hilfe.

Es wurde die erste Bohrung gesetzt, dort hinein die RAMPA Muffe gedreht und eine lange Schraube hineingeschraubt. Dann wurde der Abstand zu nächsten Bohrung ermittelt und der runde Handlauf mit der Schraube so justiert, dass das neue Loch genau in der gleichen Richtung, also ohne radiale Winkelabweichung, gebohrt wurde.

Das Ergebnis ist ein perfekter Sitz der Handläufe auf den linken und rechten Geländerstäben.

Und nun noch mal zurück zu den Geländerstangen mit den M6 Gewinden zu beiden Seiten.
Bei den Herstellern der s.g. Architekturseile gibt es im Zubehör entsprechende Hülsenschrauben und Winkelstücke. Diese Teile sind ein perfekter, zurückhaltender Abschluss an den oberen und den unteren Treppenstäben, sowie am Emporengeländer.

In 1.3.1 zeige ich noch drei Bilder vom Schräglochbohrgerät.
gmc
Beiträge: 237
Registriert: Mi 4. Aug 2010, 10:15

Re: Die Treppe

#4

Beitrag von gmc »

1.3.1
43_Schraeglochbohrgeraet_2SV.jpg
43_Schraeglochbohrgeraet_2SV.jpg (255.28 KiB) 4306 mal betrachtet
43_Schraeglochbohrgeraet_3SV.jpg
43_Schraeglochbohrgeraet_3SV.jpg (245.94 KiB) 4306 mal betrachtet
43_Schraeglochbohrgeraet_4SV.jpg
43_Schraeglochbohrgeraet_4SV.jpg (252.48 KiB) 4306 mal betrachtet
gmc
Beiträge: 237
Registriert: Mi 4. Aug 2010, 10:15

Re: Die Treppe

#5

Beitrag von gmc »

1.4 Die Bodenplatte

Ich vergaß bisher zu erwähnen, das die Treppe auf einem Holzfußboden aufliegt. Aber so ist es nunmal in einem Holzhaus.

Auf den Grundbalken hatten wir Balken mit dem Querschnitt 45 x 95 mm in ca. 30 cm Abstand justiert, um einen ebenen Boden im Erdgeschoß zu erhalten. Da, wo die Grundplatte eingebaut werden soll, liegen die Balken enger aneinander.

Im vergangenen Jahr hatte ich aus 10 mm Spanplatte (dem Wangenmaß) ein Wangenmuster im Maßstab 1:1 hergestellt und am oberen Schraubpunkt angeschraubt, um alles nochmal zu überprüfen. Ich nahm sie anschließend mit nach Deutschland. Dort war sie Grundlage der letzten Korrekturen in den CAD Plänen. Bei der Herstellung der Wangen wurde sie parallel justiert.

Mit ihr fingen wir vor Ort an und konnten die Lage der Grundplatte ziemlich genau einmessen.

Jetzt will ich eine Zeichnung von ihr zeigen.
GRUNDPLATTE_SV.jpg
GRUNDPLATTE_SV.jpg (25.1 KiB) 4307 mal betrachtet
Sie besteht, wie alle anderen Stahlteile auch, aus 10 mm Stahlblech. Zur Gewichtsreduzierung wurde sie in Form eines Versal H gelasert und anschließend feuerverzinkt.

Auf der justierten Balkenfläche hatten wir seinerzeit einen Fußboden aus schwedischen Fußbodenspanplatten (mit Nut und Feder) aufgebracht und in den Geschossen eine begehbare Grundlage geschaffen. Diese Spanplatten sind 22 mm dick.

Die Grundplatte soll nun an ihrer Position bündig in die Spanplatte eingearbeitet werden. Mit Hilfe der Spanplattenwange und einer Pappschablone konnten wir den Ausschnitt ziemlich genau bestimmen.

Mit der Handkreissäge, das Sägeblatt auf die Spanplattendicke eingestellt, wurde nun dieses Rechteck aus dem Fußboden herausgeschnitten. In diesen Ausschnitt kam zunächst eine 12 mm dicke Bausperrholzplatte und darauf die 10 mm Grundplatte. Sie ist mit dem Spanplattenboden bündig.

Zukünftig ist geplant, in beiden Geschossen mit Ausnahme der Küche, Dielenfußboden aus 25 mm dicker, langsam gewachsener Lapplandkiefer zu verlegen. Aber, das betrifft mich nicht mehr!
gmc
Beiträge: 237
Registriert: Mi 4. Aug 2010, 10:15

Re: Die Treppe

#6

Beitrag von gmc »

1.5 Die Treppenwangen und die Stufenplatten

Die beiden Wangen sind aus 10 mm Stahl hergestellt. Das habe ich bereits geschrieben. Und das sie zweiteilig hergestellt werden müssen.
In der Stahlbranche gibt es 4 verschiedene Blechtafelformate. Hier ist eine Übersicht:
Blechtafel_FormateSV.jpg
Blechtafel_FormateSV.jpg (47.96 KiB) 4307 mal betrachtet
Das Überformat ist in der Beschaffung und Lagerung extrem teuer. So eine Platte mit 10 mm Stärke wiegt etwa 1.000 kg.

Ich schrieb bereits, das fast alle Laseranlagen für das Großformat 3.000 x 1.500 mm gerüstet sind.

Meine Konstruktionszeichnungen nehmen darauf Bezug.
TREPPENWANGEN_43_15_SV.jpg
TREPPENWANGEN_43_15_SV.jpg (62.64 KiB) 4307 mal betrachtet
Oben ist die rechte Wange, unten die linke. Die rot markierten Bohrungen sind die Sacklöcher, wie in 1.2 beschrieben. Die Zeichnungen zeigen die Innenseiten der Wangen. Bis auf die 24 mm Bohrungen wurden alle Löcher vom Laser nur angekörnt. D= 8 mm ist kleiner als die Materialstärke (10 mm). Und Sacklöcher kann der Laser nicht bohren (schneiden).

Wofür benötigt man diese zwei verschiedenen Löcher?

Der Grund liegt in der besonderen Verbindung der Treppenstufen an die Wangen. Mir ging es darum, möglichst wenig Verbindungstechnik zu zeigen.

Das gelang mir durch die Idee, Tragschienen in die Stufen einzulassen und Pass- oder Zylinderstifte in Verbindung mit Senkkopfschrauben einzusetzen. Aussen sieht man an einer Wange pro Stufe nur 2 Schraubenköpfe, bündig eingesenkt. Sonst nichts.

Passstifte werden im Maschinenbau eingesetzt, um Teile passgenau miteinander zu verbinden.

Hier geht es darum, eine stabile Verbindung herzustellen und vor allem die Scherkräfte, die bei der Belastung der Stufen entstehen, aufzunehmen und über ihren Querschnitt abzuleiten. Gleichzeitig werden Vibrationen und Schwingungen, die zum Lösen der Verbindung beitragen können, aufgrund der Passgenauigkeit abgeleitet. Da wackelt nichts.

Die zwei Schrauben haben demzufolge lediglich die Aufgabe, die Stufen fest an die Wange heranzuziehen. Das liegt in der Natur der Sache: Denn Stahl ist vor allem auf Zug belastbar.

Wer bis hierher gelesen hat, wird jetzt die Konstruktionsidee verstehen, die hinter den Stufenplatten steckt.
STUFE_43_15_ID.jpg
STUFE_43_15_ID.jpg (135.11 KiB) 4307 mal betrachtet
Auf der Zeichnung ist die Platte in eine Stufe eingesetzt. Die zwei äußeren Bohrungen haben M8 Innengewinde. Hier hinein werden die Schrauben, die Wange und Stufe miteinander verbinden, gedreht. Daneben sind die 10 mm Bohrungen für die Zylinder- oder Passstifte. Hier sind es Durchgangslöcher.

Und die drei Inbus Senkschrauben sind in RAMPA Muffen mit M8 Innengewinde eingeschraubt. Damit ist die Stufenplatte fest in der Stufe verankert. Auch der CNC gefräste, stramme Sitz in der Stufentasche trägt dazu bei.

Nachdem ich hier nun die Vorzüge und Voraussetzungen geschildert habe, will ich nun berichten wie ich die Genauigkeit erzielte, die notwendig ist.
gmc
Beiträge: 237
Registriert: Mi 4. Aug 2010, 10:15

Re: Die Treppe

#7

Beitrag von gmc »

1.6 Der Maschinenbau und die Treppe

Es geht auch anders; aber so geht es auch.
TREPPENWANGEN_43_15_SV.jpg
TREPPENWANGEN_43_15_SV.jpg (61.2 KiB) 4306 mal betrachtet
In diesem speziellen Fall aber nicht. Passstiftbohrungen haben ein Problem: Entweder die Abstände der beiden Löcher sind in der Stufenplatte und in der Treppenwange auf 1/10 oder sogar 1/100 mm gleich. Um etwas Toleranz zu haben, es wurde ja keine s.g. H7-Passung angestrebt (die ist sozusagen toleranzlos), sind die Bohrungen mit einem 10 mm Spiralbohrer durchgeführt worden. Die zusammengesetzten Teile sind also noch trennbar. Gleichzeitig ist es eine absolut stabile Verbindung. Und die Stufen sind sehr genau an ihrem Platz in der Wange.

Die Senkbohrungen für die Schrauben sind da nicht so heikel. Das passt eigentlich immer, wenn gewisse Toleranzen nicht überschritten werden.

Glücklicherweise bekam ich die Adresse eines hiesigen Maschinenbauers, der bereit war die Wangen und auch die Stufenplatten zu bohren.

Auf dem Tisch des großen Bearbeitungszentrums wurden die beiden Wangenteile zusammen justiert und aufgespannt. Als Programm-Nullpunkt wurde das Zentrum der 24 mm Bohrung ermittelt und dann das Programm gestartet. Zunächst alle 10 mm Löcher für die Passstifte, dann nach dem Werkzeugwechsel die 8 mm Bohrungen für die Schrauben. Alle wurden als Sackbohrungen ausgeführt, da die Wangen unmittelbar auf den Tisch gespannt waren.

Ich konnte bei diesen Arbeiten dabeisein und Fotos machen.
1_Kante_einmessenSV.jpg
1_Kante_einmessenSV.jpg (255.85 KiB) 4306 mal betrachtet
3_Programmstart_SV.jpg
3_Programmstart_SV.jpg (254.37 KiB) 4306 mal betrachtet
Als alles fertig war, waren die Löcher nicht durchgebohrt. Bei den Sacklochbohrungen passte das.

Bei den Durchgangslöchern für die Schrauben hingegen musste ich die vorgebohrten Löcher durchbohren, anschließend die Wangen umdrehen und von der Aussenseite her mit dem Senkbohrer die Schraubenlöcher auf Schraubenkopfhöhe senken. Dabei kam mir zugute, dass ich Zugang zu einer Werkstatt mit einer neuen Säulenbohrmaschine habe.

Auf einer kleinen CNC Maschine wurden die Stufenplatten gebohrt, ihre Aussenform hatte ich vorher per Laser herstellen lassen. So paßte alles perfekt zueinander.

Nun sind die Treppenwangen fertig gebohrt; aber immer noch zweigeteilt. Sie sollen erst in Schweden geschweißt werden. Und dort steht kein z.B. Demmeler Schweißtisch entsprechender Größe zur Verfügung, auf dem man die beiden Wangenhälften vor dem Zusammenschweißen winkel- und maßgenau aufspannen könnte.

Im nächsten Bericht geht es um die Schweißschablonen. Vorher zeige ich in 1.6.1 weitere Fotos
gmc
Beiträge: 237
Registriert: Mi 4. Aug 2010, 10:15

Re: Die Treppe

#8

Beitrag von gmc »

1.6.1
2_Einmessen_des_StartpunktesSV.jpg
2_Einmessen_des_StartpunktesSV.jpg (255.57 KiB) 4307 mal betrachtet
Treppenwangen_durchgebohrt_und_gesenkt.jpg
Treppenwangen_durchgebohrt_und_gesenkt.jpg (149.34 KiB) 4307 mal betrachtet
gmc
Beiträge: 237
Registriert: Mi 4. Aug 2010, 10:15

Re: Die Treppe

#9

Beitrag von gmc »

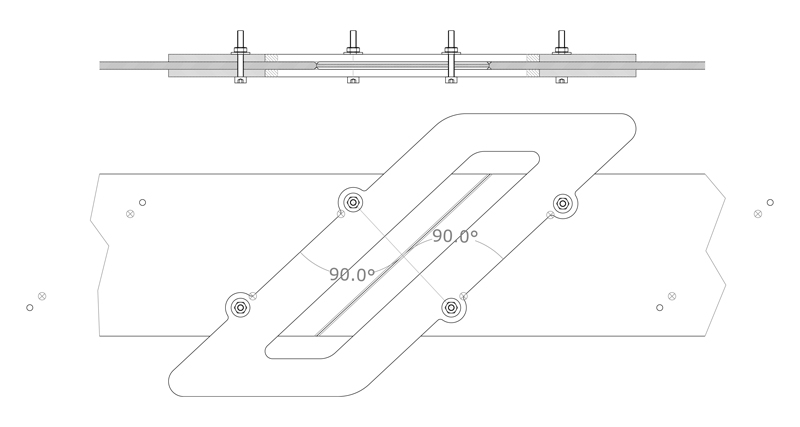
1.7 Die Schweißschablonen

Die Treppenteile sollen unterschwierigen Bedingungen so zusammengesetzt und geschweißt werden können, dass man dann möglichst nichts mehr davon sieht. Das setzt voraus, dass die Teile während des Schweißprozesses unverrückbar in Postion bleiben. Beide Teile müssen deshalb wie in einem Schraubstock fixiert werden; und dazu habe ich Schweißschablonen entwickelt. Für jede Wange eine und nacheinander.

Das erwies sich als absolut richtig. In der kleinen Werkstatt in Schweden konnten wir beide Wangen zu dritt vorbereiten. Und der Freund, der die Schweißarbeiten ausführte, konnte die eingespannten Teile leicht umdrehen, was sich bei einem Gewicht von 80-90 kg etwas komisch anhört.
SCHWEISSLEHRE_43_ZUSAMMENGEBAUT.jpg
SCHWEISSLEHRE_43_ZUSAMMENGEBAUT.jpg (44.48 KiB) 4306 mal betrachtet
Die Schablonen sind aus 10 mm Stahl per Laser geschnitten. Sie sind zweiteilig. Zwischen ihnen werden die beiden Wangenteile unverrückbar geklemmt.
Kleine_Schweissschablone.jpg
Kleine_Schweissschablone.jpg (218.95 KiB) 4306 mal betrachtet
Der Ausschnitt in der Schablone zeigt die Schweißnaht und ermöglicht das Schweißen an allen Seiten.
Für die Justierung der Schablone mit den beiden Wangenteilen konnte ich den großen Demmeler Schweiß- / Montagetisch benutzen.
Die Schraubenbolzen wurden mit jeweils einer Schablone verschweißt.
Grosse_Schweissschablone.jpg
Grosse_Schweissschablone.jpg (164.66 KiB) 4306 mal betrachtet
Die eine Schablone justiert die Wangen mit 4 Stufenlöchern, die große mit acht.
Sie wurden nacheinander konzipiert und angefertigt.
Beide bewährten sich vor Ort.
gmc
Beiträge: 237
Registriert: Mi 4. Aug 2010, 10:15

Re: Die Treppe

#10

Beitrag von gmc »

1.8 Über die Treppenstufen

Über die Stufen gibt es nicht viel zu berichten.

Sie sind 40 mm dick und haben die Abmessung 270 x 850 mm. Ich habe einen Betrieb gefunden, der Treppen, Stufen und alles was dazu gehört, baut. Auch die Handläufe.

Er verfügt über ein Bearbeitungszentrum für Holz, in dem die CNC Fräsarbeiten durchgeführt wurden.
Ich beauftragte ihn zusätzlich, auch die Platten in die Stufen einzubauen, sodass wir die fertigen Stufen - sozusagen direkt von der Palette - in die Wangen einbauen konnten.
Antworten

Zurück zu „Gebäude, Zäune etc.“